
如今,近视低龄化的趋势越发明显,公交上、地铁上、行走在马路上,各种场合都不难见到戴着眼镜的小孩子。出现这种情况,跟遗传因素有关,跟接触电子产品有关,更多的,也跟孩子的坐姿和习惯有关。
有关数据表明,小学阶段,孩子们出现驼背和近视的几率是非常高的,这和孩子们日常的习惯和坐姿等有很大的关系,如果可以想出一种方式,避免孩子近视,保持一种良好的读书姿势,那么就可以在很大程度上解决孩子们的近视及驼背的问题。
近日,一段关于小学生上课的视频走红网络,引起了网友广泛关注。为了避免孩子们驼背和近视眼,校长发明了一款“神器”,如下图所示:

从图片中就可以看到,在每一位小学生的书桌上,靠近孩子们的那一侧,都有一根像是扶手一样的黑色的管子,管子被弯成一样的形状,固定在桌子的两侧,不会影响孩子们的视线,还可以防止孩子们驼背,避免眼睛距离书本近造成近视等。
对此,网友们给予了一致好评,为校长的这一创意发明点赞,甚至有的网友呼吁:报专利。
能不能报专利且放在一边不说,但如果申请专利成功的话,这样的专利产品或许就是大家常说的“可转化专利”了,切切实实能推广、可实施,且有利于小孩子的健康。而且不要看造型非常简单,却是一种很好的方法。
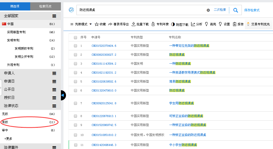
发思特在专利查询网站检索发现,以“防近视课桌”为关键词,搜索到的有权专利共11项。视频中的这种结构尚未申请专利,这位发明人真的可以考虑一下了……

网友们也表达了自己的想法:
1、这个东西,看着真的很简单,像是平常的购物车的推手一样,不过这对于防止孩子近视和驼背应该挺有效果的,校长有才,对孩子也好,还是好人多。
2、看整个班级的学生们,大多是腰板挺直,说明这个“神器”还是挺有效果的。我记得我上学的时候,有很多人都是趴在桌子上写作业,或是看书,那个时候就已经有很多人开始戴眼镜了,其实近视也并一定就是学习累的,还是和学习姿势以及不好的习惯有很大的关系。

小学生的身体还处于发育之中,这时需要有人监督孩子远离坏习惯,以防影响孩子正常的生长发育,也更有利于孩子们的日常生活,看着孩子们一个个腰板挺直,真好。
